|
|
 |
Accomplishments
Here is a summary of Mark Rosheim's technical and "firsts" achievements with links to his patents, papers, and books. These in there respective fields.
View patents list
 |
 |
 |
In the field of robot wrist actuators |

The first high precision (+ -.002) singularity-free wrist. 180° pitch/yaw with continuous roll.
U.S. Pat. no. 4,729,253 and 5,239,883
Read paper at IEEE Xplore website
 |
 |

First all plastic robot wrist actuator. Revolutionary completely injection molded design with living hinges.
U.S. Pat. no. 5,893,296 and 6,105,455
 |
 |

First robot wrist fountain application. Large arrays of moving, lighted, water jets. Several installations worldwide.
WET Design licensee. U.S. Pat. no.5,893,296 and 6,105,455
Read Case Study
 |

First singularity-free wrist for spray finishing and sealant application capable of tracking moving line automobiles. Graco Robotics licensee.
U.S. Pat. no. 5,036,724, 4,723,460 and 4,686,866
 |
 |

First singularity-free wrist used for antenna pointing to send/receive cell/fax messages. Revolutionary horizon-to-horizon tracking.
KVH licensee. U.S. Pat. no.4,686,866 and 4,723,460
 |
 |

First singularity free wrist for micro-surgery research. 25-micron precision achieved. Micro-Dexterity Systems licensee. U.S. Pat. no. 5,036,724, 4,723,460, 4,686,866 and 4,804,220
 |
 |
 |
 |
 |
In the field of robot hands |

First dexterous, modular, electric hand with integrated wrist.
U.S. Pat. no. 4,821,594 and 5,967,580
 |
 |

First differential head knuckle drive.
U.S. Pat. no. 4,804,220, 4,821,594 and 5,967,580
 |
 |
 |
 |

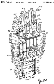
First electric humanoid robot hand with second generation differential drive.
U.S. Pat. no. 5,967,580 and 6,658,962
Learn more
 |
 |

First flexible humanoid robot palm aids in opposition of the thumb.
U.S. Pat. no. 5,967,580 and 6,658,962
Learn more
 |
 |

First opposable humanoid electric robot thumb.
U.S. Pat. no. 5,967,580
Learn more
 |
 |
Robot hand kinematics widely used in cable and direct drive hands world wide.
 |
 |
 |
In the field of robot history |

First accurate recreation of Leonardo's Cart
Learn more
 |
 |

First recreation of Leonardo's Robot Knight
 |
 |

First recreation of Leonardo Bell Ringer Clock
 |
 |
Return to Top
|